Hotmelt 3D
























Tips for Using a Glue Gun to Save Your Closet

Pricerange: $2.29 (according to this post)

Max build-size: sky is the limit

Assembly time: 10 seconds


simplicity of the glue-gun

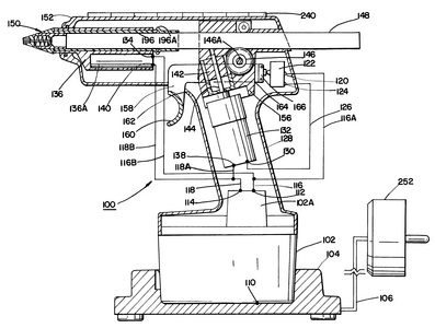
Triggering mechanism of a glue gun
maybe an alternative start to build an extruder?

Glue gun with pinch rollers