Home‎ > ‎Mechanics‎ > ‎

Ball joints


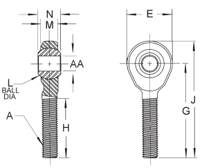
Rod End Ball Joint Male 3/8-24 Thread Size (L)

These ball joints are often used in delta 3D printers. And are in the forums also named "rod ends".

Some also use universal joints - or cardan joints. But the main reason most opt for ball joints is that there is a more direct connection in a ball joint. So there is a lower fault toleration. Though you have to be more careful how to place them since the maximum angle of a ball joint is usually a bit more tight.


Rod End Ball Joint Female W/Stud 1/4-28 (L)